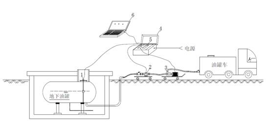
LFRB-12C型变流量地罐容积-液位标定系统是我公司在原来12年产品基础上改进后的新型专利产品,整套装置包括移动式电动油泵,便携式双螺杆流量计,绳索式磁致伸缩液位计,还有便携式地罐容积-液位标定箱。移动式电动油泵由便携式地罐容积-液位标定箱内的变频器控制,可按照地罐从底部到上部的截面体积变化,通过变频器进行变流量地罐注油,将地罐容积-液位标定的精度从原来的±1.0%提高到±0.5%。本套装置可在加油站地罐现场,通过双螺杆流量计与磁致伸缩液位计之间的同步数据变化,实现对地罐的容积-液位精确标定,自动生成地罐的容积-液位高精度对照表。根据标定后的地罐容积-液位对照表即可对运油罐车往地罐内卸油后的油品数量实现液位-容积自动计量交接,还可以通过磁致伸缩液位计液位变化与该地罐容积-液位对照表进行比较,对地罐内油品容积数量进行实时监测。本地罐容积-液位标定系统的运行、数据采集、数据分析、地罐容积-液位标定结果均通过笔记本电脑内的专用程序直接完成。
技术指标:
1、适用范围:各种油品地下储罐的罐容标定(汽油、柴油、煤油等);
2、标定时间:1.5小时(30m3地罐);
3、防爆等级:dIIBT4;
4、 标定精度:±0.2mm(液位), ±0.1%(流量) ,±0.5%(容积—液位);
5、工作电源:380VAC(三相四线);
6、功 率: 1.5KW;
7、操作系统:Windows7;
8、供货内容:移动式油泵,便携式双螺杆流量计,绳索式磁致伸缩液位计,便携式地罐容积-液位标定箱 ,笔记本电脑,油管(含配套快速接头),标定专用程序,操作手册;
9、装置组合形式: 积木式,单台设备最大重量 < 15KG;
10、包装方式:木箱;
11、培训方式:用户现场。





