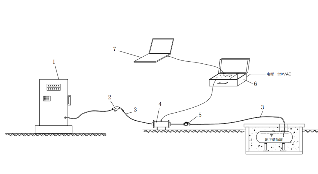
LFJ-19A 便携式加油机流量计标定装置由高精度流量计、流量阀门、数据采集器、计算机和连接油管、电缆等辅件组成,每一件设备和配件均为特殊设计和加工,是我国目前精度最高、重量最轻、操作最方便的加油站加油机流量计标定装置。随计算机提供配套的流量标定软件,通过该软件实现对每次标定结果的自动计算,误差分析,报表生成和文件存档管理。


LFJ-19A 便携式加油机流量计标定装置由高精度流量计、流量阀门、数据采集器、计算机和连接油管、电缆等辅件组成,每一件设备和配件均为特殊设计和加工,是我国目前精度最高、重量最轻、操作最方便的加油站加油机流量计标定装置。随计算机提供配套的流量标定软件,通过该软件实现对每次标定结果的自动计算,误差分析,报表生成和文件存档管理。